Conform tuturor zvonurilor Galaxy S11 va avea parte de unele îmbunătățiri majore în departamentul de camere. Galaxy S11 este așteptat să fie primul smartphone de la Samsung care oferă capacitate de zoom optic 5x. Actuala cameră telefoto Samsung 2x are stabilizare optică a imaginii sau OIS. Desigur, mulți se întreabă dacă soluția de teleobiectiv 5x așteptată pentru seria Galaxy S11 va avea și ea OIS. Acest lucru se datorează faptului că noua cameră 5x va fi fundamental diferită de cea utilizată în prezent.
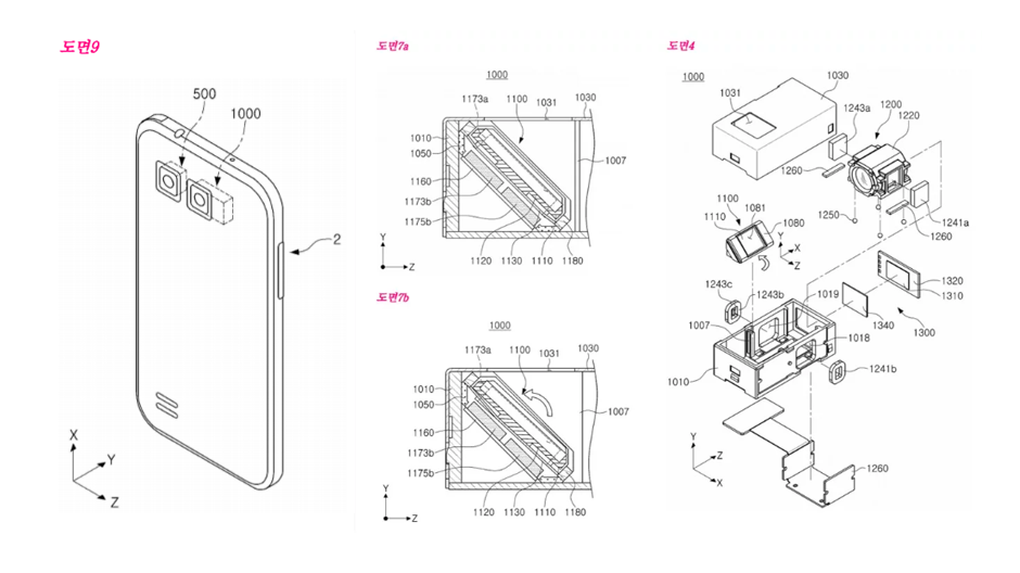
Gigantul tech este de așteptat să introducă un modul de cameră tip periscop pentru Galaxy S11. Pentru a permite un zoom optic 5x pe dispozitiv fără un modulul proeminent care să iasă în spate, se utilizează o cameră cu lentilele dispuse în lateral și principiul reflectării luminii într-un periscop. Această metodă permite unui teleobiectiv mai lung să fie introdus în corpul unui smartphone subțire.
OIS pe camera de zoom 5x a seriei Galaxy S11 va fi foarte utilă
Samsung Electro-Mechanics realizează module de cameră din 2003. De curând a anunțat producția în masă a unei camere cu zoom optic 5x. Ceea ce compania nu a spus la vremea respectivă este dacă are și OIS. Deoarece acest modul nu a fost folosit până acum într-un smartphone, despre acest lucru s-a știut foarte puțin, aproape deloc. Această cameră poate fi folosită în mod evident pentru Galaxy S11.
SamMobile a descoperit o cerere de brevet pe care Samsung Electro-Mechanics a depus-o săptămâna aceasta la KIPO – Oficiul Coreean de Proprietate Intelectuală. Brevetul este pentru un modul de cameră tip periscop cu stabilizare optică a imaginii. Acesta oferă câteva detalii despre modul în care modulul OIS din camera foto tip periscop va funcționa.
Stabilizarea optică a imaginii devine și mai importantă la niveluri mai mari de zoom. Datorită faptului că OIS este deja prezentă pe mai multe din telefoanele sale și este foarte apreciată, are sens ca Samsung să îmbunătățească zoom-ul cu OIS. Este un lucru pe care fanii și clienții îl vor aprecia foarte mult.
Deocamdată acesta este doar un brevet, deci nu confirmă nimic, dar este un element circumstanțial foarte important înainte de apariția seriei Galaxy S11.
Hubble – numele camerei foto tip periscop de pe Galaxy S11
În primul rând, brevetul este depus de divizia care produce module de camere pentru Samsung. Acesta a fost depus în această săptămână, în timp ce alte brevete despre astfel de camere au fost depuse în urmă cu mulți ani. Mai intervine în ecuație și calendarul. Suntem la doar câteva luni distanță de lansarea Galaxy S11. Cu zvonuri ca „Hubble” – numele de cod al camerei aflată pe Galaxy S11, avem așteptări mari din partea departamentului foto de pe viitorul smartphone pilot Samsung. Așadar, nu poate fi exclusă posibilitatea ca acest brevet să descrie camera lui Samsung Galaxy S11.
De asemenea, luna aceasta Samsung a înregistrat la EUIPO denumirea „Space Zoom”. Aproape sigur această denumire are legătură cu viitorul Galaxy S11 și descrie funcția ca un zoom software pentru a mări o imagine fără pierderea calității.

